PRODUCTS
Durable tamper proof security plastic seals for ballot box
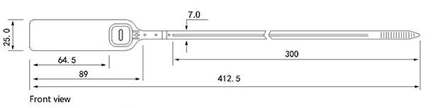
Specification
Material: PP+PE
Length: 400mm
Diameter: 6mm
Fabrication process: metal insert plastic seal
Tensile Strength: >350N
Application: Express, logistics, catering, hospital, truck
Packing: 100pcs/bag,50bags/carton

Features
1) Self-locking design, tamper-proof
2) Corrosion and high temperature resistance
3) Metal insert and heavy duty strength


Online Consultation
We respect your confidentiality and all information are protected.
We respect your confidentiality and all information are protected.
Hotline product recommendation